防静电服
Static protective clothing
GB 12014-2009
2009-04-01发布 2009-12-01实施
1范围
本标准规定了防静电服的技术要求、测试方法、检验规则、标识等。
本标准适用于可能引发电击、火灾及爆炸危险场所穿用的防静电服。
本标准定义的防静电服不适用于抗电源电压。
2 规范性引用文件
下列文件中的条款通过本标准的引用而成为本标准的条款。凡是注明日期的引用文件,其随后所有的修改单(不包括勘误的内容)或修订版均不适用于本标准,然而,鼓励根据本标准达成协议的各方研究是否可使用这些文件的最新版本。凡是不注日期的引用文件,其最新版本适用于本标准。
GB/T 2912.1-1998 纺织品 甲醛的测定 第1部分:游离水解的甲醛(水萃取法)
GB/T 3920 纺织品 色牢度试验 耐摩擦色牢度(GB/T 3920-2008,ISO 105-X12:2001,MOD)
GB/T 3923.1-1997纺织品 织物拉伸性能 第1部分:断裂强力和断裂伸长率的测定 条样法
GB/T 4288 家用电动洗衣机
GB/T 5453-1997 纺织品 织物透气性的测定
GB/T 5713-1997 纺织品 色牢度试验 耐水色牢度
GB/T 7568.5-2002 纺织品 色牢度试验 聚丙烯腈标准帖衬织物规格
GB/T 7573-2002 纺织品 水萃取液pH值的测定
GB/T 8427-1998 纺织品 色牢度试验 耐人造光色牢度:氙弧
GB/T 8628-2001 纺织品 测定尺寸变化的试验中织物试样和服装的准备、标记和测量
GB/T 8629-2001 纺织品 试验用家庭洗涤和干燥程序
GB/T 8630-2002 纺织品 洗涤和干燥后尺寸变化的测定
GB/T 13640劳动防护服号型
3 术语和定义
下列术语和定义适用于本标准。
3.1防静电服static protective clothing
为了防止服装上的静电积聚,用防静电织物为面料,按规定的款式和结构而缝制的工作服。
3.2防静电织物static protective fabric
在纺织时,采用混入导电纤维纺成的纱或嵌入导电丝织造形成的织物,也可是经处理具有防静电性能的织物。
3.3导电纤维conductive fibre
全部或部分使用金属或有机物的导电材料或静电耗散材料制成的纤维。
3.4静电耗散材料electrostatic dissipative material
表面电阻率大于或等于1×105Ω/口,但小于1×1011Ω/口的材料。
3.5表面电阻率surface resistivity
表征物体表面导电性能的物理量。
注:表面电阻率是材料表面正方形对边间测得的电阻值,与该物体厚度及正方形大小无关。
3.6点对点电阻point to point resistance
在给定时间内,施加材料表面两个电极间的直流电压与流过这两点间的直流电流之比。
4 技术要求
4.1 面料
4.1.1 外观质量
面料应无破损、斑点、污物或其他影响面料防静电性能的缺陷。
4.1.2 点对点电阻
面料按附录A规定的方法测试,点对点电阻应符合表1的规定。
表1 点对点电阻技术要求
4.1.3 理化性能
面料的理化性能应符合表2的要求。
表2 理化性能技术要求
4.2 服装
成品服装面料应符合4.1的技术要求。
4.2.1 外观质量
服装外观应无破损、斑点、污物以及其他影响穿用性能的缺陷。
4.2.2 结构及款式
4.2.2.1服装结构应安全、卫生,有利于人体正常生理要求与健康。
4.2.2.2服装应便于穿脱并适应作业时的肢体活动。
4.2.2.3服装款式应简洁、实用。根据使用要求,可采用如下款式(见图1):
a)“三紧式”上衣、下裤为直筒裤。
b) 衣裤(或帽、脚)连体式。
c)其余款式根据实际情况确定。
图1 防静电服的款式
4.2.3 缝制
4.2.3.1服装各部位缝制线路顺直、整齐、平服牢固。上下松紧适宜,无跳针、断线、起落针处应有回针。
4.2.3.2缝线针距:(12~14)针/3cm(单位面积质量≥200g/m2),(14~16)针/3cm(单位面积质量<200g/m2)。
4.2.3.3按5.9规定的方法测试,服装接缝强力不得小于100?N。
4.2.4 带电电荷量
防静电服按附录B规定的方法测试,带电电荷量应符合表3的规定。
表3 带点电荷量技术要求
4.2.5 附件
服装上一般不得使用金属材质的附件,若必须使用(如钮扣、钩袢、拉链)时,其表面应加掩襟,金属附件不得直接外露。
4.2.6 衬里
服装衬里应采用防静电织物,非防静电织物的衣袋、加固布面积应小于防静电服内面积的20%,防寒服或特殊服装应做成内胆可拆卸式。
4.2.7 尺寸变化率
防静电服按GB/T 8629-2001中规定的6B或6A程序洗涤,悬挂晾干,水洗后的尺寸变化率应符合表4的规定。
表4 尺寸变化率技术要求
5 测试方法
5.1从面料和服装衬里的不同部位分别选取样品,按GB/T 2912.1-1998规定的方法测试甲醛含量。
5.2从面料和服装衬里的不同部位分别选取样品,按GB/T 7573-2002规定的方法测试pH值。
5.3面料尺寸变化率按GB/T 8628-2001和GB/T 8630-2002规定进行,采用GB/T 8629-2001中的6B或6A程序洗涤,悬挂晾干。
5.4从面料和服装衬里的不同部位分别选取10个样品,按GB/T 5453-1997规定的方法测试透气率。
5.5面料耐水色牢度按GB/T 5713-1997规定的方法测试。
5.6面料耐干摩擦色牢度按GB/T 3920规定的方法测试。
5.7面料耐光色牢度按GB/T 8427-1998规定的方法测试。
5.8面料断裂强力按GB 3923.1-1997规定的方法测试。
5.9 成品服装接缝强力按GB 3923.1-1997规定的方法测试,从衣裤接缝薄弱部位裁取五个接缝在中心的试样,接缝的方向与受力方向成90°角,如接缝采用单线应将接缝端线打结,以防滑脱。测试结果取最低值。
6 检验规则
6.1 出厂检验
生产企业应按照生产批次对防静电服逐批进行出厂检验。各测试项目、测试样本大小、不合格分类、判定数组见表5。
表5 出厂检验
6.2 型式检验
有下列情况之一时需进行型式检验;
6.2.1新产品鉴定或老产品转厂生产的试制定型鉴定;
6.2.2当面料、工艺、结构设计发生变化时;
6.2.3停产超过一年后恢复生产时;
6.2.4周期检查,每年一次;
6.2.5出厂检验结果与上次型式检验结果有较大差异时;
6.2.6国家有关主管部门提出型式检验要求时;
6.2.7样本由提出检验的单位或委托第三方从企业出厂检验合格的产品中随机抽取,样品数量以满足全部测试项目要求为原则。
7 标识
7.1 永久标识
7.1.1每套(件、条)服装上应有:产品名称、商标(如有〉、号型规格、生产厂名称、等级。
7.1.2每套产品应附有合格证,内容包括:生产厂名称、厂址、联系电话、生产日期、标准号。
7.1.3每套产品应附有产品使用说明及有关国家标准或行业标准规定必须具备的标记或标志。
7.2 产品说明书?
产品使用说明书应包括:
——禁止在火灾爆炸危险场所穿、脱防静电服。
——禁止在火灾爆炸危险场所穿用的防静电服上附加或佩戴金属物件。
——外层服装应完全遮盖住内层服装。分体式上衣应足以盖住裤腰,弯腰时不应露出裤腰。
——在火灾爆炸危险场所穿用防静电服时必须与相关国家标准中规定的防静电鞋配套穿用。
8 包装和储存
8.1产品包装应按客户的要求达到整齐、牢固、无破损、产品数量准确、内外包装应设防潮层。箱内应放入生产厂包装检验单,包装检验单应包括产品名称、号型、批号、数量、检验员、检验日期,箱外注明产品名称、数量、生产日期、生产厂名称、厂址。
8.2产品不得与有腐蚀性物品放在一起,存放处应干燥通风,包装箱距离墙面、地面20mm以上,防止鼠咬、虫蛀、霉变。
附 录 A
(规范性附录)
点对点电阻测试方法
A.1原理
将被测样品放置在绝缘平板上,上放电极装置,在电极装置间施加直流电压测量样品的点对点电阻。
A.2 设备
A.2.1 测试电极
测试电极为两个直径(65±5mm)的金属圆柱体;电极材料为不锈钢或铜;电极接触端的材料为导电橡胶,其硬度(60±10)(邵氏A级),厚度(6±1)mm,体积电阻小于500Ω;电极单重(2.5±0.25)kg。
A.2.2 高阻计
高阻计的测量范围:105~1013Ω;
测量精度:≤1012Ω时,应为±5%;>1012Ω时,应为±20%。
A.2.3 绝缘台面
台面表面电阻、体积电阻分别大于1×1014Ω,其几何周边尺寸均大于被测材料10cm。电极之间距离300mm。
A.3 洗涤与调湿
试样在测试前须经洗涤处理与调湿。
A.3.1洗涤处理
按附录C规定的洗涤方法进行洗涤。
A.3.2 调湿
经洗涤后的样品,在(60±10)℃温度下干燥1h后,在测试环境条件下,放置6h。
A.4试样
在防静电面料上的不同位置选取五组测试点。
A.5 测试条件
测试环境条件为温度(20±5)℃,相对湿度(35±5)%。
注:如果在非规定的测试环境中测试,应在报告中注明环境条件。
A.6 测试程序
A.6.1 清洗
用沾有清洗剂(如丙二醇或乙醇)的纸巾将电极的下表面和绝缘台面的上表面擦拭干净,并在空气中晾干。
注:丙二醇或乙醇是易燃和有毒的,应避免溅到皮肤、眼睛和衣服上以及吸入其蒸气。
A.6.2 测试
A.6.2.1 将测试样品正面向上放置在绝缘台面上或以实际使用状态放置,测试电极组放在试样上。
A.6.2.2测试电压(100±5)V,测试时间(15±1)s,如果表面电阻小于105Ω,可降低电压并在报告中注明。重复上述测试过程在同一试样上再选取四点测试。
A.7 测试结果
取五次测试值的几何平均值为最终结果。
附 录 B
(规范性附录)
带电电荷量测试方法
B.1 原理
将经过滚筒摩擦机摩擦后的试样,投人法拉第筒内,以测量试样的带电量。
B.2 试样
防静电服一件(上、下衣均可)。
B.3 装置
B.3.1 摩擦装置
回转式滚筒摩擦机,其技术要求应符合表B.1规定。
表B.1 摩擦装置
B.3.2 带电量测试装置
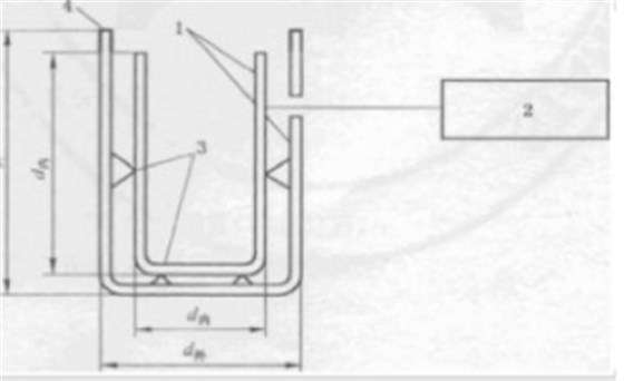
由法拉第筒和静电电量测试仪组成。按图B.1所示连接。
1——法拉第筒;
2——静电电量测试仪;
3——绝缘支架;
4——聚乙烯胶带。
图B.1 带电量测试电路
B.3.2.1 法拉第筒:内、外两只金属制圆筒,h内等于2d内、h外等于2d外、d内大于或等于40cm、d外等于d内+10cm。
B.3.2.2 静电电量测试仪:测量范围:2nC~2μC,精度:±1%。
B.3.2.3绝缘支架:绝缘电阻在1012 Ω以上的聚四氟乙烯。
B.3.2.4聚乙烯胶带:绝缘电阻在1012 Ω以上。
B.4洗涤与调湿
试样在测试前须经洗涤处理与调湿。
B.4.1 洗涤处理
按附录C规定的洗涤方法进行洗涤。
B.4.2 调湿
经洗涤后的试样,在(60士10)℃温度下干燥1h后,在测试环境条件下,放置6h。
B.5 测试条件
测试环境条件为温度(20士5) ℃,相对湿度(35±5)%。
注:如果在非规定的测试环境中测试,应在报告中注明测试环境条件。
B.6 测试程序
B.6.1 将试样放入滚筒摩擦机中运转15min。
B.6.2 将试样直接从滚筒摩擦机中自动进人(或戴绝缘手套绝缘电阻在1012 Ω以上,直接取出,立即投入)法拉第筒内,此时应注意试样距离人体、金属等物体300mm以上。
B.6.3 读取静电电量测试仪读数,以μC计。
B.6.4按附录B中的B.6.1~B.6.3规定程序,重复测试5次。每次测试与测试之间,相隔10min,在每次测试前,应对符合GB 7568,5-2002的试样和滚筒内衬标准布进行消电处理。
B.7 测试结果
取5次测试的平均值,为最终测量值。
注:带衬里的工作服应将衬里翻转朝外,重复上述测试步骤,并将结果记人报告中。防寒服应拆除内胆后测试挂面及衬里。

防静电三连体服
防静电二连体服
防静电分体连帽
防静电大褂翻领